
论文:”环境水体中油的采样工具的设计及其可行性研究”
更新时间:2026-01-29
浏览次数:43
”环境水体中油的采样工具的设计及其可行性研究” (中国环境监测,第15卷第5期1999年10月)
宁树才, 杨军,王修齐,侯少西
摘要:由于油在水中呈 不均匀分布的特性,所以有关环境水体中油的采样工具,一直是环保部门关注的焦点,为此提出了“理想(或称假想)水柱的概念,并依此设计出一种在环境监测工作中使用的便携式测水中油用采样器,适用于工业废水、生活污水及污染的地表水的采取。其特点是一个底部可开闭的采样器,采样器中的采样瓶(包括瓶底衬盖、瓶底盖)与内拉杆外套管通过螺纹连接,移动内拉杆、外套管便可以方便地采取一定面积下的含有水柱。采样瓶装卸简单、运输方便,在实验室中可将其直接用作操作瓶。用这种采样器,计算结果将更接近真实情况。本装置已于92年12月30日获国家发明专利,专利号:89102471.9, 证书号:161381。

一般来说,在渠道、池塘、湖泊、河流等地面水中,油的分布是很不均匀的,除少部分乳化状油较为均匀地存在于水体,大部分多分散浮于水面,在这种情况下一般认为采取某一点上的全层(从表层到底层)样品比较合理。《水与废水监测分析方法》(第3版),对油的采样提出了要“定容采样”的要求,但用什么样的采样工具来达到目的则未见介绍。本文作者引入新概念—“理想(或称假想)水柱,设计出了一种新型采集水中油的装置,它将使环境水体中的油的监测数据更接近真实情况。
1、设计构思
“理想(或称假想)水柱”概念的提出是采样器设计的主导思想,即以 “理想(或称假想)水柱“内的油浓度代表环境水体的油浓度,而 “理想(或称假想)水柱”是指一定面积下的全层水体。
现在的同题是,在水体较深的情况下,采集全层水样比较困难,即使采集到该全层水样,必然体积很大,给实验室分析工作带来困难。
鉴于上述情况,使用 “理想(或称假想)水柱” 的慨念,我们设想了一种量取水深后,采集一定面积下(适当深度)的表层及次表层水样,然后将分析结果( 重量单位)除以 “理想(或称假想)水柱“体积的方法( 计算结果为浓度单位),来代表 “理想(或称假想)水柱“内油的浓度,以此浓度值表示环境水体油的浓度。
设采样器取样面积为s,水体深度为H,采样器内油的重量以为w,则“理想(或称假想)水柱“内油的浓度为:W /(S XH),此结果即为环境水休的含油浓度。因为一般情况下大部分油浮于水面,只有极少部分油呈乳浊状分散于水休中,可忽略不计,用这样的采样方法计算后,结果应更接近于真实情况。
2 采样器的设计
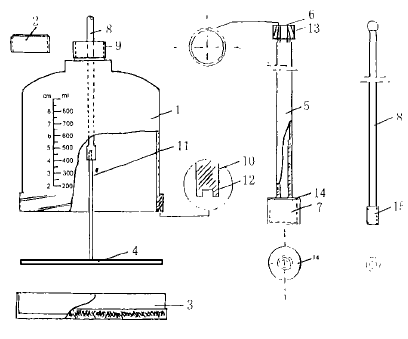
基于以上关于采样方法的设想,我们设计了一种采样工具,其特点是一个底部可开闭的采样瓶,采样瓶从上往下垂直取水后,下端有一衬盖与瓶底盖可将水密封,水样即不会漏出。 采样器操作简便采样瓶便于装卸,在实验室中可将采样瓶直接作为操作瓶,加萃取试剂,用振荡器振荡,然后用重量法或红外光度法分析。为便于实验室中使用,我们将瓶的内径定为112.85mm,采样瓶上有双标刻线(厘米毫升)可直接读出取水深度和所取水样的亳升数,瓶内水高1cm约等于100ml。
整个采样器主要结构(见图1~ 图2),它由采样瓶(I)、瓶底衬盖(4)、瓶底盖(3)、瓶口盖(2)、以及内拉杆(8)、手柄(5)组成。采样时手柄与采样瓶口连接,内拉杆由外柄套管内伸出,与瓶底衬盖上的固定杆(11)连接,先将内拉杆下移,使瓶底衬盖浸入水中,此时采样瓶不接触水面,待水面油层重新稳定后,将采样瓶迅速放入水中一定深度,向上提起内拉杆,旋紧手柄套管上端的紧固螺帽,使内拉杆不能向下滑动,此时瓶底衬盖与采样瓶下缘的橡胶密封团贴紧,水即不会流出,提出采样瓶后旋紧瓶底盖取下手柄和内拉杆,盖上瓶口盖采样即告完成。

采样器原理图

采样器结构附图
为避免油在水体中分布不均造成的误差, 可在一段时间内同一水体上多取几个样品, 计算结果取平均值。
3 可行性研究
为了检验“测水中油用采样器”设计的科学性, 我们对该装置分别进行了室内符合率、室外符合率实验及重复性检验, 结果表明, 采样器取样分析较合理, 并更接近理论值。
3.1 室内符合率实验
取一内径为 41cm 的盆, 加水 10L , 再滴入定量标准油, 轻轻震动盆壁, 以便油膜的加速展开。待油膜分布均匀后, 将采样瓶放下, 采集含油水样。加四氯化碳萃取, 用测油仪测定, 每次取样完毕, 将盆彻底冼净, 重新加水、加油。六次实验结果, 实测值/理论值为 75.12%~ 105.12% , 均值为92.10%。
日本工业标准法 (TIS) 介绍了一种用分液漏斗采集油样的办法, 他们用该装置进行了三次室内符合率实验, 其测定值/理论值为 56.15%~60.15% , 均值为 58.10%。
通过实验不难看出, 本文所研究的测水中油用采样器的符合率明显高于日本工业标准法(TIS) 介绍的方法。
3.2 室外模拟现场符合率实验
在一个规则的无油水渠中, 在其采样点上游30m 处, 用下口瓶匀速释放 32# 机油, 其间安排两处搅拌水体, 然后每隔约 15m in 用采样器取样,共取五次, 并同时监测流速, 量取水深。
整 个 过 程 用 时 73m in, 测 得 平 均 水 深0.512m , 渠宽 0.160m , 实际流水量 70.28t, 实际加 32# 机油 9.5kg, 经计算此时段的水体油浓度为 2.78mg/l, 符合率为 68.3%。
3.3 重复性检验
实验方法基本与室内符合率实验相同, 只是取样时用两个采样器同时取样, 六次分析结果见相对偏差 0~ 11% , 均值为 4%。
4 讨论
( 1) 采样器室内监测结果的符合率均值为92% , 高于日本介绍装置 58% 的水平。对于油这个项目来说, 是相当满意的。
( 2) 采样器室外监测结果的符合率均值为68% , 考虑到水的流速不均、渠壁吸附等因素, 这个结果也已经是很满意的。
(3) 采样器取样的平行性误差小, 重复性好,
相对偏差(R 1D ) 均值为 4%。
( 4) 从室内和室外实验表明, 采样器取样分析水中油是可行的, 而且该装置装卸简单方便, 并适用于各种环境水体的样品采集。
(5) 室内符合率实验的部分数据及室外模拟现场实验数据由冶金部马鞍山矿山研究院环保所提供。
(6) 本装置还可用于其它监测项目的定容取样, 如悬浮物等, 以及需要分层取样的场合及项目。
5 使用方法
本采样器以一组内、外拉杆, 配五个采样瓶为一套。
5.1 正常情况下的使用方法
(1) 取下采样瓶上盖, 将内拉杆拧在瓶内的瓶底衬盖上, 再将外套管拧在瓶口上, 取下瓶底盖, 组装完毕。
(2) 移动内拉杆, 使瓶底衬盖与瓶分开, 间隙距离可任意大小。
(3) 将瓶底衬盖放入水面以下, 此时瓶体不接触水面, 待后续水面流过并稳定后, 迅速将瓶体下移, 放入水中, 瓶内便采集了一定截面下的含油表层及次表层水。
(4) 提拉内拉杆, 使瓶底衬盖在水中与瓶合紧, 旋紧外套管上端的紧固螺帽, 将采样器提出水面。
(5) 拧上瓶底盖, 取下内拉杆、外套管, 旋上瓶口盖, 此时便完成了采样全过程。
采样瓶上有双标刻线, 可直接读出采样深度和取水毫升数。
5.2 两种特殊情况下的使用方法
(1) 分不出上、中、下水层的涌出水, 可不拧下瓶口盖, 而拧下瓶底盖, 取出瓶底衬盖, 直接用瓶接水即可, 而后放入衬盖, 拧上瓶底盖, 便完成采样。
(2) 静止(水流极缓) 水域, 按 5.1 方法 (1) 组装后, 移动内拉杆, 将瓶底衬盖放入水面以下, 此处水面油膜被衬盖破坏, 此时可平移采样器至油膜未被破坏处, 再将采样瓶放至水面以下, 以后的方法同前述。
6 制作材料及要求
(1)有机材料制, 如ABS、铸性尼龙等;
(2) 耐四氯化碳和石油醚的浸蚀, 耐酸碱;
(3) 强度较大, 不易碎, 不易变形;
(4)膨胀系数小, 可以在较恶劣的环境下使用。
收稿日期:1998-11-20,修改日期:1999-04-11
未经校对,可能有错字、漏字、少字,请谅解,仅用于学术交流。
完!

- 上一篇:(六)雨山湖水文常数的计算-第五部分
- 下一篇:论文:测水中油用采样器
新闻资讯
NEWS- DR-801C A water sampler for collecting a segment of oil-containing water column(Download)
- 专业提供环保认证及资质证书申报辅导
- DR-801C截取式水中油分层采样器获得计量校准证书DR-801C A water sampler for collecting a segment of oil-containing water column obtain a calibration certificate
- “全层水柱”含油浓度计算,其中“本底值水深”概念太关键(油膜瓶&溶解油瓶图)
- 国际友人应邀来沪观摩我们DR-801C截取式水中油分层采样器现场演示

您的位置: